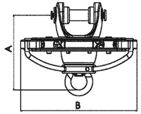
ALMACENADOR PARA VELAS VOLANTES NEC 4T de línea continua
DIMENSIONES
NEC 4T mm pulgadas
A 157 6 3/16’’
B 158 6 3/16’’
C 142 5 19/32’’
D (Ø quitavueltas) 73 2 7/8’’
E 115 4 17/32’’
F 184 7 1/4’’
Ø cabo anti-torsión 10 ó 12 3/8’’ ó 1/2’’
Ø máximo de la driza (si lleva polea de desmultiplicación) 12 1/2’’